TEMA BROJA
Dr Vladica Božić
Zelena energija / Vetar
Nevidljiva korisna snaga
U skladu sa ciljevima Održivog razvoja UN koji dostupnost čistih tehnologija vide kao osnovno ljudsko pravo, Pariskog klimatskog sporazuma (potpisalo ga je više od 200 država) i drugih važnih dokumenata i sporazuma, čitav svet se okrenuo što većem korišćenju zelene energije kao jedinom proverenom i merljivom načinu borbe protiv posledica klimatskih promena i stvaranju održivije budućnosti. Nakon vekova korišćenja energije fosilnih goriva, zelena energija je ključni koncept moderne energetske proizvodnje u savremenom društvu jer je prirodna, ekološki prihvatljiva i gotovo neiscrpna. Gotovo sva obnovljiva energija je direktno ili indirektno nastala od Sunca. Sunce prema Zemlji zrači oko 5,25 kWh/m2 na dan (Sunčeva konstanta je 1,366 kW/m2) od čega se oko 1%-2% od te energije pretvara u energiju vetra. Vetar je obnovljiv, lako dostupan i čist izvor energije koji ima sve veći značaj zbog svoje efikasnosti i ekološke prihvatljivosti.

Vetropark "Kovačica" |
Još od davnina čovek je video da se energija vetra može pretvoriti u mehaničku, pa su se u Persiji, oko 200 godina pne, pojavile prve vetrenjače koje su korišćene za mlevenje žitarica, a između 5. i 9. veka ne i za pumpanje vode. Prve vetrenjače pojavljuju se u Zapadnoj Evropi u 14. veku i koriste konstrukciju sa horizontalnom osom obrtanja. Sve do kraja 19. veka vetrenjače su se i dalje koristile za mlevenje pšenice i pumpanje vode, a najviše ih je bilo u Evropi (Danska i Holandija), Persiji i Avganistanu.
Uporedo sa razvojem tehnike i pronalaskom elektromotora, Čarls Bruš (Charles Brush) je, u američkom gradu Klivlendu, 1888. godine konstruisao prvi vetroagregat (koji se sastojao od vetroturbine i vetrogeneratora), koji je pretvarao kinetičku energiju vetra u električnu energiju. Znatnije korišćenje energije vetra u proizvodnji električne energije je počelotridesetih godina 20. Veka, izgradnjom prvih vetroelektrana (vetroparkova) koje čini niz blisko smeštenih vetroagregata, najčešće istog tipa, izloženih istom vetru i priključenih posredstvom zajedničkog uređaja na električnu mrežu. Tokom sedamdesetih, a posebno osamdesetih godina prošlog veka, vetroagregati sa jediničnom snagom od 50 do 600 kW su, od do tada preovlađujućeg korišćenja za kućne i poljoprivredne potrebe, počeli da se masovnije koriste u vetroelektranama. Do početka devedesetih godina prošlog veka, većina vetroelektrana je instalirana u Kaliforniji, dok je u Evropi i Aziji osamdesetih i početkom devedesetih trend korišćenja vetroagregata bio sporiji. Povećanje cene električne energije i raspoloživi resursi vetra stvorili su malo ali stabilno tržište u severnoj Evropi zbog čega su, tokom devedesetih, vetroelektrane najviše građene u Evropi i Aziji, gde je instalisano više hiljada MW snage.

Prvi vetroagregat koji je konstruisao Čarls Bruš |
Krajem 2023. instalisana snaga svih vetroelektrana u svetu bila je veća od 1 TW (ili 1.000 GW), a u Evropskoj uniji su te godine iz vetroelektrana dobili 19% od ukupno proizvedene električne energije. Najveći udeo energije vetra u ukupnoj proizvodnji električne energije u Evropi su imale Danska sa 56%, Irska oko 42%, Portugal približno 30%, Nemačka oko 27%, Španija 23,3% i Švedska oko 20%. Ukupna instalisana snaga vetroelektrana u Kini u 2023. godini je bila približno 441,3 GW, što Kinu čini vodećim proizvođačem energije iz vetra na svetskom nivou. Pored toga, Kina je 2023. godine instalisala 75,9 GW novih kapaciteta za proizvodnju energije iz vetra, što predstavlja 60% novih kapaciteta u ovoj oblasti u celom svetu. Iako je Kina vodeća zemlja po instalaciji novih vetroagregata, nisu dostupni precizni podaci o udelu energije vetra u ukupnoj proizvodnji električne energije u 2023. godini jer zavise od različitih faktora, uključujući ukupnu potrošnju energije, proizvodnju iz drugih izvora i efikasnost postojećih kapaciteta. Treba pomenuti da je Kina postavila ambiciozan cilj da, do 2060. godine, 80% njene ukupne proizvodnje energije potiče iz nefosilnih izvora goriva, što uključuje energiju vetra, solarnu energiju, hidroenergiju i druge oblike obnovljivih izvora. Ekspanzija u ovoj oblasti govori da se Kina energetski, ekonomski i industrijski u potpunosti okrenula ka zelenoj energiji.
Ukupan instalisani kapacitet vetroagregata u Evropi u 2024. godini procenjuje se na oko 250 GW, dok procene za 2025. godinu ukazuju na to da bi ukupan instalisani kapacitet mogao premašiti 280 GW, pa čak dostići i 300 GW. Ukupan instalisani kapacitet vetroagregat se u Srbiji u 2024. godini procenjuje na oko 500 MW. Najveći vetropark u Srbiji, „Vetropark Kovačica”, već je u funkciji i ima kapacitet od oko 150 MW, a planira se dalja izgradnja novih vetroelektrana. Procene za 2025. godinu ukazuju na to da bi ukupan instalisani kapacitet svih vetroagregata u Srbiji mogao dostići oko 1.000 MW (1 GW).

Vetrenjače koje se i danas koriste |
Konstrukcija vetroagregata
U osnovi, svi vetroagregati pretvaraju kinetičku energiju vetra u mehaničku energiju rotacije, koja se putem (vetro)generatora pretvara u električnu energiju koja se šalje u mrežu ili koristi lokalno. Osnovni deo je vetroturbina koja se sastoji od lopatica koje pokreće vetar kada udari u njih, pri čemu dužina lopatica (odnosno površina kruga koji čine pri obrtanju) direktno utiče na količinu energije koja se može generisati (najduža lopatica vetroturbine na svetu dugačka je 143 m). Lopatice i njihova osovina su povezane sa glavčinom (ili mehaničkim prenosom) izajedno čine rotor, koji se okreće kada vetar pokrene lopatice i odgovoran je za pretvaranje kinetičke energije vetra u mehaničku energiju rotacije. Glavčina rotora je povezana sa transmisionim sistemom koji se sastoji od glavnog vratila (sporohodnog), ležajeva, spojnica i zupčastog prenosnika. Glavno vratilo je, preko frikcione spojnice, povezano sa menjačem (zupčastim prenosnikom), na koji prenosi obrtni moment. Uloga zupčastog prenosnika je da uveća brzinu obrtanja glavnog vratila sa 40-60 o/min na 1500-1800 o/min pomoćnog (brzohodnog) vratila koje je krutom spojnicom povezano sa (vetro)generatorom na koji prenosi energiju rotacije rotora, a generator pretvara mehaničku energiju rotacije u električnu energiju. Osovina i generator kod modernih vetroagregata mogu biti direktno povezani (turbine sa direktnim pogonom), tako da prenosnik nije potreban, čime se smanjuje broj mehaničkih delova pa su ove konstrukcije jednostavnije i zahtevaju manje održavanje - ali su skuplje za izradu. Svaki vetroagregat je opremljen mehanizmom za zaustavljanje obrtanja lopatica (disk kočnica) kod prevelikih brzina vetra, čime se sprečava potencijalno oštećenje turbine.
Transmisioni sistem, generator, kontrolni uređaj i druge komponente (kočnica, upravljačka i nadzorna elektronika) su smešteni u kućište koje se nalazi na vrhu stuba (tornja) i služi da zaštiti komponente koje se nalaze unutar nje. Temelji stuba moraju biti tako projektovani da obezbede stabilnost turbine i drže je usidrenom na zemlji ili vodi. Na vetroturbini je postavljen senzor za brzinu i smer vetra (anemometar) i uređaj za upravljanje koji automatski prilagođava položaj lopatica i cele turbine kako bi se omogućio efikasan rad i tako optimizovala proizvodnja energije. Svaki vetroagregat je, preko kabla za napajanje, priključen na sistem za akumulisanje energije ili na elektroenergetsku mrežu.

Šema tipičnog vetroagregata |
Vrste vetroagregata i njihove karakteristike
Vetroagregati se razlikuju po veličini, dizajnu i funkcionalnosti, u zavisnosti od njihove namene i mesta instalacije. Najčešće se instališu na kopnu jer je to jeftinije za izgradnju, ali mogu biti postavljene i na morima, okeanima ili velikim jezerima (offshore), gde duva stabilniji i jači vetar koji ima veći potencijal za proizvodnju energije - ali su one skuplje za izgradnju i održavanje. Postoje i plutajući vetroagregati koji se postavljaju na plutajućim platformama na vodi, što im omogućava da se instališu tamo gde su duboke vode.
Vetroagregati se prema veličini (odnosno instaliranoj snazi) mogu grubo podeliti u tri grupe: mali, srednji i veliki. Mali vetroagregati ili vetroturbine (mikroturbine) imaju instalisanu snagu od 1 do 100 kW i pogodne su za proizvodnju energije za objekte koji se nalaze na dalekim i izolovanim lokacijama kao što su domaćinstva, farme i mali industrijski objekti. Zbog malih dimenzija mogu se instalisati na krovovima ili u dvorištima. Srednji vetroagregati imaju instalisanu snagu između 100 kW i 1,5 MW i najčešći su tip u komercijalnoj upotrebi. Priključeni su na mrežu samostalno ili u grupi (vetroelektrane). Veliki vetroagregati imaju instalisanu snagu veću od 1,5 MW i uglavnom su postavljeni na moru, gde su brzine vetra i najveće. Trenutno najveći vetroagregat na svetu „Haliade-X”, koji je razvila kompanija „GE Renewable Energy”, ima snagu od 12 MW i visinu od 260 m.

Sklop osovine rotora, menjača i kočnice pri postavljanju u kučište |
Prema položaju osovine, vetroturbina se dele na one sa horizontalno postavljenom osovinom (Horizontal Axis Wind Turbine - HAWT) koja je paralelna sa tlom i pravcem vetra, i one sa vertikalno postavljenom osovinom u odnosu na tlo (Vertical Axis Wind Turbine - VAWT). Vetroturbine sa horizontalnom osovinom imaju najčešće tri (ili dve) lopatice koje rotiraju u ravni normalnoj na pravac vetra, što im omogućava da generišu značajnu količinu energije. Iako su složene konstrukcije, one imaju visoku efikasnost zbog čega su češće korišćene i podesne su za postavljanje tamo gde postoji veliki prostor za njihovu instalaciju, kao što su vetroparkovi. Obično se nalaze na visokim stubovima (od nekoliko desetina metara), kako bi se izbegle turbulencije koje postoje u nižim slojevima vazduha i uhvatio jači i stabilniji vetar na većoj visini - ali zahtevaju pravilnu orijentaciju u odnosu na kretanje vetra.

Šema regulacije po vertikalnoj osi |
Na osnovu te orijentacije, vetroturbine sa horizontalnom osom se mogu podeliti na one koje su orijentisane prema vetru i one koje su orijentisane od vetra. Velika većina je orijentisana prema vetru jer se na taj način izbegava uticaj turbulencija koje nastaju iza turbine - ali zato moraju imati sisteme koji automatski vrše regulaciju snage. Regulacija se vrši pomoću dva osnovna principa: po vertikalnoj osi („yaw” regulacija) i po nagibu („pitch” regulacija). Regulacija po vertikalnoj osi omogućava da se ceo sklop turbine preko nazubljenog prstena automatski okreće prema trenutnom smeru vetra koji se prati pomoću anemometra, dok se regulacija po nagibu odnosi na ugao koji lopatica vetroturbine ima u odnosu na vetar. To se vrši pomoću zakretnog mehanizma koji se nalazi na samim lopaticama koji ih postavlja na optimalni ugao u odnosu na vetar, koji je za male brzine iznosi približno 90o dok je, zbog povećanja brzine vetra, taj ugao manji. Pomoću ova dva automatizovana sistema se obezbeđuje visoka efikasnost u proizvodnji energije i pri veoma malim brzinama vetra. Zbog toga su ove turbine često instalisane u velikim vetroparkovima na otvorenim područjima. Osnovna prednost turbina koje orijentisane od vetra je ta što se u njih ne moraju ugrađivati mehanizmi za zakretanje turbine, mada one nisu toliko pouzdane i trajne.

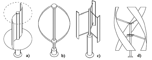
Osnovni tipovi vetroturbina sa vertikalnom osovinom: a) Savinius b) Darious c) H-Darious d) spiralna |
Vetroturbine sa vertikalnom osovinom mogu da rade nezavisno od pravca vetra, što ih čini pogodnim za područja sa nestabilnim i turbulentnim vetrom, ali su manje efikasne. Pošto su manjih dimenzija u odnosu na one sa horizontalnom osovinom, pogodne su za urbane sredine, gde su prostori za instalaciju ograničeni. Pored toga, ove turbine su jednostavnije za instalaciju i održavanje. Prema obliku lopatica dele se na Savinius (Savonius) turbine koje imaju oblik polucilindara koji se okreću pod uticajem vetra i Darious (Darrieus) turbine koje imaju duge tanke lopatice zakrivljene u obliku slova C spojene pri vrhu i dnu vertikalne ose (poput jaja) ili njen podtip (H-Darrieus ili Giromill) koji koriste ravne lopatice. Postoje i spiralne turbine koje imaju spiralne (helikoidne) lopatice.
Prema aerodinamičkom efektu, rotori vetroturbina mogu biti sa otpornim i uzgonskim delovanjem. Princip rada rotora sa otpornim delovanjem zasniva se na sili otpora na lopaticama rotora pri čemu se one okreću sporije od vetra, što čak smanjuje ukupnu efikasnost. Brzine obrtanja su pri tome male, a momenti na vratilu rotora srazmerno veliki. Najčešće se koriste u vetrenjačama, za pogon mlinova ili pumpi za vodu. Rotori sa uzgonskim djelovanjem zasnivaju princip rada na delovanju sila uzgona na lopatice rotora, pri čemu je njihova linearna brzina nekoliko puta veća od brzine vetra. Brzine obrtanja su pri tome velike, a momenti na vratilu rotora mali. Zbog većih brzina rotacije (1.000-1.500 obrtaja/min) i veće aerodinamičke efikasnosti, po pravilu se koriste u savremenim vetroelektranama.

Saviniusova vetroturbina |

Dariousova vetroturbina |
Prednosti i izazovi korišćenja vetroagregata
Vetar je prirodni resurs koji se stalno obnavlja što podrazumeva da je neiscrpan izvor energije čiji globalni potencijal višestruko prevazilazi svetske potrebe za električnom energijom. Pri pretvaranju u energiju tokom rada vetrogeneratora, ne emituju se gasovi sa efektom staklene bašte, što predstavlja ekološko rešenje za proizvodnju elekrične energije. U poređenju sa fosilnim gorivima, vetroturbine imaju minimalan uticaj na životnu sredinu jer ne zagađuju vodene i zemaljske resurse. Vetroparkovi mogu doneti i značajne ekonomske koristi, naročito u ruralnim područjima jer omogućuju stvaranje novih radnih mesta i smanjuju zavisnost od uvoza fosilnih goriva.
Efikasnost vetroturbina zavisi od snage i stabilnosti vetra (intermitentnost), što znači da proizvodnja energije nije konstantna i može se smanjiti u periodima bez vetra, čime zavisi od vremenskih uslova. Sa druge strane, nedostatak vetra retko uzrokuje nesavladive probleme kada je njegovo učešće u snabdevanju električnom energijom malo mada, pri većem oslanjanju na vetar, može dovesti do većih gubitaka. Zbog svoje visine, horizontalno postavljene vetroturbine mogu narušiti pejzaž, što je možda estetski neprihvatljivo u naseljenim područjima. Vetroturbine u prirodi mogu predstavljati opasnost za ptice i slepe miševe, naročito ako nisu pravilno postavljene u skladu sa migracionim putevima. Takođe, troškovi instalacije i održavanje vetroagreagata mogu biti visoki, posebno kod onih montiranih na moru, ali se dugoročno ti troškovi vraćaju kroz proizvodnju jeftine energije.
Korišćenje energije vetra postaje sve popularnije u svetu zbog ekološke prihvatljivosti i potencijala za smanjenje emisija ugljen-dioksida i drugih štetnih gasova, koji su odgovorni za globalno zagrevanje i klimatske promene. Samim time, veće korišćenje energije vetra može da značajno doprinese smanjenju emisije gasova sa efektom staklene bašte i time očuvanju životne sredine. Zbog toga vetroagregati predstavljaju ključnu tehnologiju u prelasku ka održivoj i ekološkoj proizvodnji energije. Iako postoje izazovi vezani za efikasnost i ekološke aspekte, prednosti korišćenja vetroagregata u globalnoj energetskoj proizvodnji su nesporne. Sa razvojem novih tehnologija, ovi agregati postaju efikasniji, tiši i manje utiču na ekosistem. Mogu se koristiti za velike vetroparkove ili kao pojedinačni sistemi za domaćinstva, pri čemu im životni vek može biti 20–25 godina uz pravilno održavanje.
Dr Vladica Božić
Kompletni tekstove sa slikama i prilozima potražite u magazinu
"PLANETA" - štampano izdanje ili u ON LINE prodaji Elektronskog izdanja
"Novinarnica"
|